avigation
- 回路电阻测试仪
- 身体防护服
- 高压无线核相仪
- 绝缘电阻测试仪
- 绝缘电阻测试仪类
- 接地电阻测试仪
- 电缆故障测试仪
- 变压器直流电阻测试仪
- 变压器损耗参数测试仪
- SF6气体检漏仪
- 电力变压器互感器消磁仪
- 变压器有载开关参数测试仪
- 双钳多功能接地电阻测试仪
- 变压器短路阻抗测试仪
- 安规测试仪器
- 避雷器及绝缘子测试仪器
- 太阳能光伏接线盒测试仪
- 超声波线缆测高仪
- 漏电保护测试仪
- 继电器校验仪
- 智能电导盐密测试仪
- 蓄电池放电测试仪
- 接地引下线导通测试仪
- 三通道直流电阻测试仪
- 水内冷发电机绝缘电阻测试仪
- 高压验电器
- 直流断路器安秒特性测试仪
- 发电机转子交流阻抗测试仪
- 矿用杂散电流测定仪
- 发电机电位外移测试仪
- 注油器总汇
- 超高压耐压测试仪
- 耐电压测试仪
- 电动机保护器总汇
- 万兆数功率表总汇
- 组合工具箱总汇
- 便携式动平衡测量仪
- 电力试验仪器总汇
- 氧化锌避雷器测试仪
- 高绝缘电阻测量仪
- 全自动介质损耗测试仪
- 匝间绝缘冲击耐压试验仪
- 弯排机、冲孔机、切排机总汇
- 分压器(高压测试仪)
- 电力变压器绕组测试仪
- 微机继电保护测试仪
- 液压钳、绕缆剪总汇
- 互感器测试仪
- 电工电修工具设备总汇
- 油的分析仪器
- 油化类仪器
- 拆线机、烘箱总汇
- 绝缘油介电强度测试仪
- 数字双钳相位伏安表
- 真空开关真空度测试仪
- 三相电容电感测试仪
- 直流系统接地故障测试仪
- 高压试验变压器
- 直流高压发生器
- 高压无线核相器
- 高压开关动特性测试仪
- 全自动变比组别测试仪
- 红外线测温仪
- 变压器容量特性测试仪
- 轴承感应加热器
- 硅橡胶加热器电加热
- 标准交直流电压电流表
- 高低压开关柜通电试验台
- 滑动变阻器
- 测试夹
- 安全滑触线
- 数字表装置
- 电能表装置
- 高压短路接地线
- 仪器仪表
- 漆包线电动刮漆器总汇
- 数控绕线机总汇
- 工业检测仪器总汇
- 万能检测仪器
- 搬运吊装工具总汇
- 分流器
- 机械机修工具总汇
- 电力测试器材
- 焊割设备、坡口机总汇
- 弯管机、试压泵总汇
- 液压扳手总汇
- 三相移相器
- 液压油泵·泵站总汇
- 液压千斤顶总汇
- 雷击计数器动作测试仪
- 液压拉马总汇
- 多功能真空滤油机
- 直流试送仪
- 高压相序器
- 电力计量产品
- 电工仪器仪表
- 三倍频发生器
- 电力安全工器具力学性能试验机
- 高阻低阻绝缘材料线缆测量
- 超低频高压发生器
- 程控工频耐压试验装置
- 绝缘靴(手套)耐压试验装置
- 电流传感器
- 变压器特性综合测试台
- 变频串联谐振耐压试验装置
- 选频电平表,电平振荡器
- 交直流标准源
- 电能现场校验仪
- 安全工具产品
- 同惠产品
- 同高电子
直流高压发生器控制箱与倍压筒示意图结构说明
直流高压发生器控制箱与倍压筒示意图结构说明
1.控制箱面板示意图

图2 面板布局图
1、接地端子 | 2、五芯航插 | 3、过压整定拨码 |
4、电源插座 | 5、保险座 | 6、电源开关 |
7、电流表头 | 8、电压调节旋钮 | 9、高压断带灯按钮 |
10、高压通带灯按钮 | 11、0.75倍带灯按钮 | 12、电压表头 |
直流高压发生器说明:
(1)控制箱接地端子:控制箱接地端子与倍压筒接地端子及试品接地端连接为一点后再与接地网相连。
(2)中频及测量电缆快速连接插座:用于机箱与倍压筒的连接。连接时只需对准将电缆插头压下顺时针方向转动到位,拆线时只需逆时针转动电缆插头。
(3)过压整定拨盘:用于设定过电压保护值。拨盘所显示单位为kV,设定值为试验电压的1.1倍。
(4)电源输入插座:将随机配备的电源线与电源输入插座相连。
(5)保险座:固定保险管。
(6)电源开关:向前按下,电源接通,高压断红灯亮。反之为关断。
(7)数显电流表:数字显示直流高压输出电流。
(8)电压调节电位器:该电位器为多圈电位器。顺时针旋转为升压,反之为降压。此电位器具备控制电子零位保护功能,因此升压前必须先回零。
(9)红色带灯按钮:高压断红灯亮,表示电源已接通及高压断开。在高压通绿灯亮状态下按下高压断红色按钮,绿灯灭红灯亮,高压回路切断。
(10)绿色带灯按钮:高压接通按钮、高压指示灯。在高压断红灯亮的状态下,按下高压通绿色按钮后,绿灯亮红灯灭,表示高压回路接通,此时可升压。此按钮须在电压调节电位器回零状态下才有效。如按下高压通绿色按钮,绿灯亮红灯仍亮,但松开绿色按钮绿灯灭红灯亮,表示机内保护电路已工作,此时必须关机检查过压整定拨码开关设置是否小于满量的5%及有无其它故障后再开机。
(11)黄色带灯按钮:高压通绿灯亮时有效,当按下0.75UDC1mA黄色按钮后黄灯亮,输出高压降至原来的0.75倍,并在一分钟内保持此状态。此功能是专为氧化锌避雷器快速测量0.75UDC1mA用。按下高压断红色按钮,红灯亮、绿灯和黄灯灭,高压切断并退出0.75倍状态。
(12)数显电压表:数字显示直流高压输出电压。
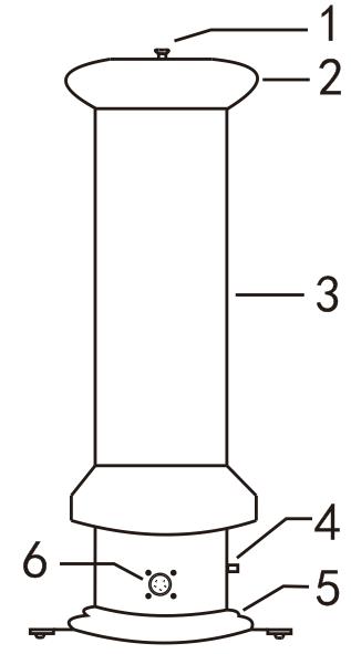
2.直流高压发生器倍压筒示意图

图3 倍压筒示意图
1.高压引出接线柱(可连接微安表和限流电阻)
2.均压球
3.倍压筒体
4.接地端子
5.底座
6.中频连接端子
上一条:没有了

